Qingdao Xin Aneng Conveying Machinery Co., Ltd.
Qingdao Xin Aneng Conveying Machinery Co., Ltd.
Kabar

Tekad protokol sing luwih resik

1.1 Nemtokake Program Cleaner

Nyapu pita adesif bledug batu bara sing wis dipatuhi. Kaya sing dingerteni, batu bara mentah sing diangkut saka pasuryan pertambangan ngemot kelembapan sing beda-beda, lan gampang kanggo ikatan batu bara sing apik kanggo lumahing tape kasebut. Yen batu bara sing diikat menyang pita kasebut ora di resiki, batu bara sing diombe bakal digawa menyang bin panyimpenan sabuk lan roller ing ngisor ngisor ing bagean ngisor ing bagean ngisor (i.e.

Asil utama yaiku:

Jumlah batu bara sing akeh banget ing bin panyimpenan sabuk, sing ngobong roller dhukungan, nyebabake roller gagal ngoperasikake lan mengaruhi urip layanan ing sabuk;

2) Penyebaran operasi sabuk bakal nyebabake pinggiran utawa ora sengaja.

3) Nambah resistensi tape lan nambah biaya;

4) jumlah mundhak batu bara, sing nambah intensitas tenaga kerja;

Ing panggunaan pembersih batu bara, ana telung masalah sing bakal ditanggulangi:

1) Efek reresik kudu apik;

2) Sing luwih resik gampang diganti, lan workload perawatan kudu cilik;

3) Ana kudu metu kanggo batu bara sing di resiki.

1. Analisis kahanan saiki

1) Struktur lan posisi sing luwih resik gabungan tradisional


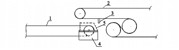
Kaya sing katon saka Gambar 2-1, luwih resik batu bara umume diinstal ing mburi drum. Pembersih batu bara yaiku ndandani potongan tape ing tengah loro splints kanggo mbentuk pigura sing resik batu bara, gunakake tape batu bara kanggo ngresiki kothong, lan bisa nggawe pita kothong sing nyandhang sawise ganti rugi tekanan.

2) cacat pembersih batu bara tradisional

a. Pembersih batu bara dumadi saka tape reresik, lan amarga sabuk ngisor yaiku sabuk kothong, sabuk ngungsi ing tekanan sing luwih resik, lan efek reresik kasebut kurang.

6. Sing luwih resik batu bara ing sisih mburi drum, lan umume luwih saka 1M adoh saka bungkus batu bara, nanging kadhangkala, amarga dhuwur saka ruang batu bara, nanging kadang-kadang amarga dhuwure papan sing ora bisa ditarik.

c. Kekuwatan panggantosan saka tukang batu bara sing gedhe, sing nggawe bathi batu bara gampang ngrusak, lan siklus panggantos uga cendhak.

3) khas Pengangkutan Lap Pengangkutan Belt

Puteran transportasi sing khas ditampilake ing Gambar 2-2.

Kaya sing bisa dideleng saka Gambar 2-2, batu bara ing cleaner batu bara ora bisa langsung dilengkapi, lan sawise batu bara sing bisa dilengkapi karo tameng, mula sawise tameng sing dilengkapi karo tameng-topi sing ditarik dening pembersih sabuk loro.

Warta sing gegandhengan
Ninggalake kula pesen
X
Kita nggunakake cookie kanggo menehi pengalaman browsing sing luwih apik, nganalisa lalu lintas situs lan nggawe konten pribadi. Kanthi nggunakake situs iki, sampeyan setuju kanggo nggunakake cookie. Kebijakan Privasi
nolak Nampa